Η Tesla επιχειρεί να αντιμετωπίσει ένα από τα πιο επίμονα προβλήματα του Full Self-Driving (FSD), καταθέτοντας μια νέα πατέντα που στοχεύει στη μείωση του φαινομένου της αντηλιάς στο παρμπρίζ, ένα ζήτημα που επηρεάζει άμεσα τα συστήματα αυτόνομης οδήγησης που βασίζονται αποκλειστικά στην όραση.
Η προσέγγιση της Tesla, η οποία στηρίζεται σχεδόν εξ ολοκλήρου σε κάμερες και όχι σε αισθητήρες όπως το LiDAR, έχει πολλά πλεονεκτήματα, αλλά και σαφείς προκλήσεις.

Η έντονη ηλιακή ακτινοβολία μπορεί να επηρεάσει τη λειτουργία των καμερών, δημιουργώντας δύσκολες συνθήκες. Ένας άνθρωπος μπορεί να φορέσει γυαλιά ηλίου ή να χρησιμοποιήσει τα σκίαστρα. Οι κάμερες δεν έχουν αυτή την πολυτέλεια.
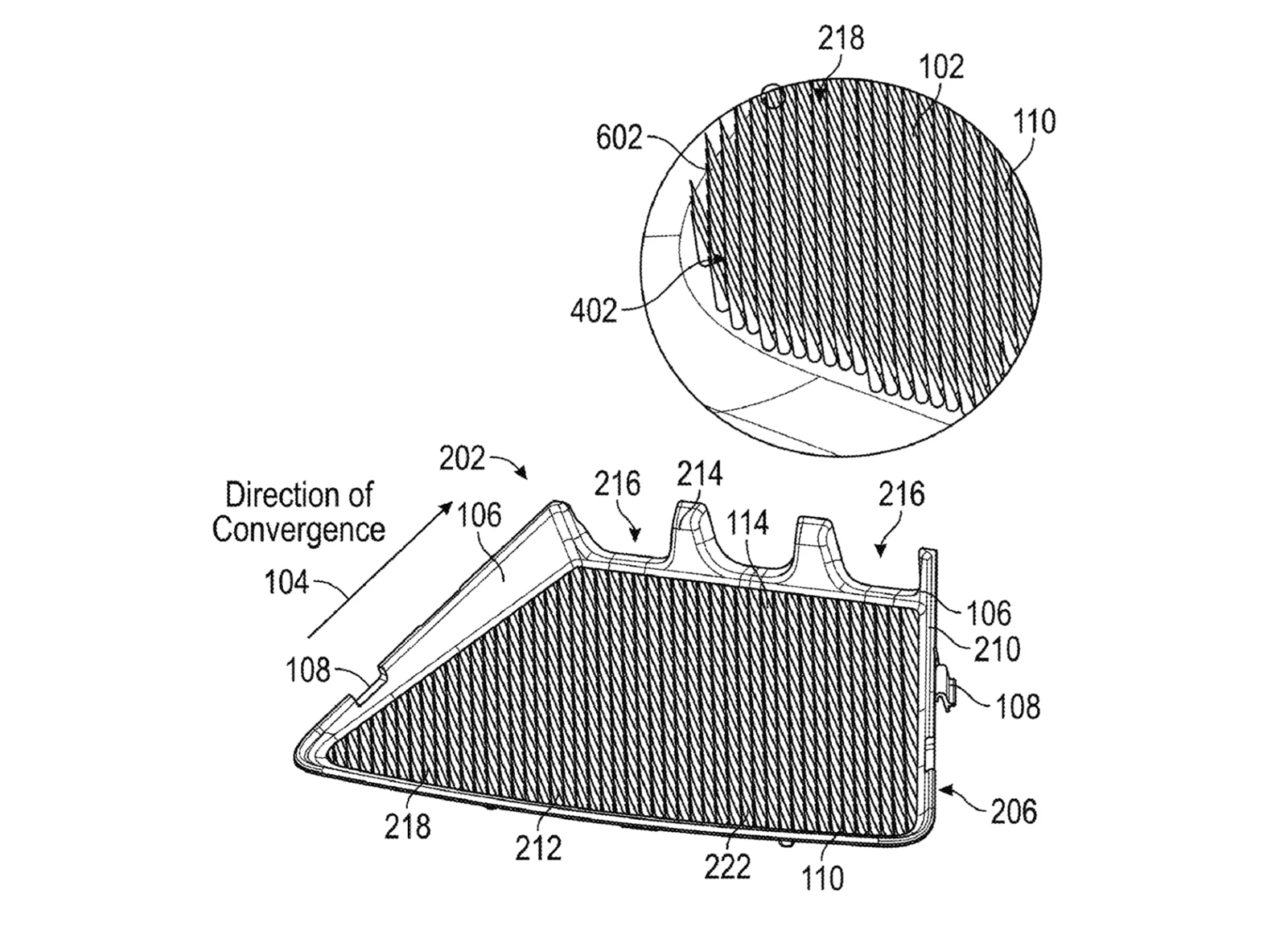
Η νέα πατέντα που δημοσιεύτηκε πρόσφατα, περιγράφει ένα είδος "glare shield", δηλαδή προστατευτικού κατά της αντηλιάς. Σύμφωνα με την Tesla, τα αυτόνομα και ημιαυτόνομα οχήματά της βασίζονται σε μεγάλο βαθμό στα οπτικά συστήματα για να αντιλαμβάνονται και να αλληλεπιδρούν με το περιβάλλον τους.
Η καθαρή εικόνα είναι κρίσιμη για την ακρίβεια και την ασφάλεια και η αντηλιά παραμένει ένας παράγοντας παρεμβολής που μέχρι σήμερα δεν έχει αντιμετωπιστεί επαρκώς.

Η τεχνολογία που περιγράφεται στην πατέντα, βασίζεται σε μια ανάγλυφη επιφάνεια αποτελούμενη από μικροσκοπικούς κώνους (micro-cones), οι οποίοι διαχέουν το προσπίπτον φως προς διαφορετικές κατευθύνσεις. Με αυτόν τον τρόπο, μειώνεται η αντανάκλαση και βελτιώνεται η οπτική απόδοση των καμερών.
Όπως αναφέρεται, το μέγεθος, η γωνία και ο προσανατολισμός των μικροκώνων είναι βελτιστοποιημένα ώστε να ελαχιστοποιούν τη συνολική ημισφαιρική ανακλαστικότητα (Total Hemispherical Reflectance – THR), επιτρέποντας στο σύστημα να ερμηνεύει με μεγαλύτερη ακρίβεια τα οπτικά δεδομένα.
Πέρα από τον παθητικό σχεδιασμό, η πατέντα προβλέπει και ένα ηλεκτρομηχανικό σύστημα δυναμικής προσαρμογής, το οποίο επιτρέπει στους μικροκώνους να αλλάζουν προσανατολισμό ανάλογα με τη γωνία της εξωτερικής φωτεινής πηγής. Έτσι, το σύστημα μπορεί να προσαρμόζεται σε πραγματικό χρόνο στις συνθήκες φωτισμού.

Η Tesla, ωστόσο, δεν περιορίζεται μόνο σε αυτή τη λύση. Έχει εξετάσει και άλλες μεθόδους αντιμετώπισης της αντηλιάς, όπως η άμεση καταμέτρηση φωτονίων.
Ο CEO της εταιρείας, Elon Musk, αναφέρθηκε στο θέμα κατά την παρουσίαση των οικονομικών αποτελεσμάτων του δεύτερου τριμήνου, εξηγώντας ότι η παραδοσιακή επεξεργασία εικόνας συχνά "ξεθωριάζει" την εικόνα όταν η κάμερα στρέφεται προς τον ήλιο, λόγω του τρόπου που γίνεται η μεταγενέστερη ψηφιακή επεξεργασία των φωτονίων.
Παράλληλα, μελλοντικές εκδόσεις του υλικού της Tesla, όπως τα Hardware 5 και Hardware 6, ενδέχεται να ενσωματώσουν επιπλέον λύσεις, όπως φίλτρα ουδέτερης πυκνότητας ή ακόμη και θερμαινόμενους φακούς, με στόχο την αποτελεσματικότερη αντιμετώπιση της αντηλιάς.
Καθώς η Tesla συνεχίζει να εξελίσσει το Full Self-Driving, τέτοιες πατέντες δείχνουν ότι η εταιρεία αναγνωρίζει τα πρακτικά όρια της σημερινής τεχνολογίας και αναζητά τρόπους να τα ξεπεράσει, φέρνοντας την πλήρως αυτόνομη οδήγηση ένα βήμα πιο κοντά στην πραγματικότητα.



