Μια πρόσφατα δημοσιευμένη πατέντα της Tesla φαίνεται να αποτελεί ένα από τα πιο σαφή σημάδια ότι το πολυαναμενόμενο νέας γενιάς Tesla Roadster είναι κοντά στο ντεμπούτο του.
Η πατέντα με αριθμό US 20260061898 A1, που δημοσιεύθηκε στις 5 Μαρτίου 2026, περιγράφει ένα "σύστημα καθίσματος οχήματος" βασισμένο σε ένα ενιαίο συνεχές πλαίσιο, μια ριζική αναθεώρηση σε σχέση με τα δεκάδες μεταλλικά στηρίγματα, μηχανισμούς ανάκλησης και πριτσίνια που συνθέτουν ένα παραδοσιακό κάθισμα αυτοκινήτου.
Μονολιθική κατασκευή
Η Tesla το αποκαλεί μονολιθική κατασκευή, όπου το κάθισμα, η πλάτη, το προσκέφαλο και οι πλευρικές στηρίξεις (bolsters) αποτελούν ένα ενιαίο κομμάτι.
Η προσέγγιση αυτή αντικατοπτρίζει τη γενικότερη φιλοσοφία κατασκευής της Tesla. Η ίδια εταιρεία που πρωτοστάτησε στη χρήση megacasting για να μειώσει εκατοντάδες εξαρτήματα αμαξώματος, τώρα εφαρμόζει την ίδια λογική στην καμπίνα.

Λιγότερα εξαρτήματα σημαίνουν λιγότερα πιθανά σημεία αστοχίας, μικρότερο βάρος και καθαρότερη διαδικασία συναρμολόγησης συνολικά.
Η χρονική στιγμή εμφάνισης της πατέντας δεν μπορεί να αγνοηθεί. Ο Elon Musk έχει αναφερθεί στην 1η Απριλίου 2026 ως ημερομηνίας παρουσίασης του Roadster, ενώ μόλις τον προηγούμενο μήνα κατατέθηκαν δύο νέα εμπορικά σήματα που αφορούσαν το μοντέλο.
Μια πατέντα που περιγράφει μια αρχιτεκτονική καθίσματος κατάλληλη για hypercar έρχεται να προστεθεί σε ένα μοντέλο που η Tesla έχει υποσχεθεί ότι θα φτάνει τα 100 km/h σε λιγότερο από δύο δευτερόλεπτα.

Τα κύρια χαρακτηριστικά
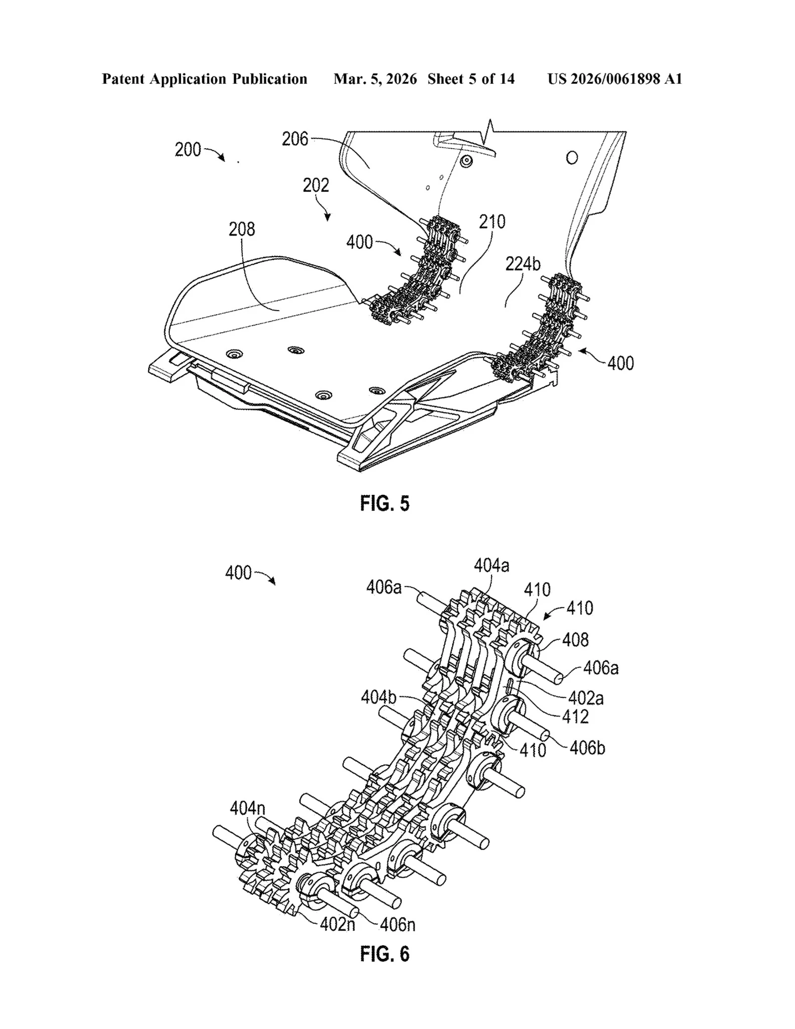
1. Ενιαίο συνεχές πλαίσιο (Monolithic Construction): Το κάθισμα, η πλάτη και ο μηχανισμός άρθρωσης ενσωματώνονται σε ένα μόνο στοιχείο, καταργώντας τα ξεχωριστά μέρη και τις συνδέσεις των παραδοσιακών καθισμάτων.
2. Ενσωματωμένος ευέλικτος μηχανισμός άρθρωσης: Ο μηχανισμός άρθρωσης είναι ενσωματωμένος στο συνεχές πλαίσιο και επιτρέπει στην πλάτη να κινείται σε σχέση με το κάθισμα, με χρήση σύνθετων ελαστικών ή συνδέσεων.

3. Θερμομορφοποιημένα συνθετικά υλικά: Το πλαίσιο κατασκευάζεται από συνθετικά υλικά όπως υαλονήματα-νάιλον, Kevlar-νάιλον ή πολυμερή, επιτρέποντας τη δημιουργία μονολιθικής μορφής.
4. Ζώνες σκληρότητας προσαρμοσμένες ανά περιοχή: Το πλαίσιο διαθέτει έως έξι ζώνες σκληρότητας για ακριβή εργονομική και δομική ρύθμιση χωρίς επιπλέον μέρη.
5. Μηχανισμός άρθρωσης με συνδέσμους: Περιλαμβάνει συνδέσμους με γρανάζια και ράβδους που, όταν κινούνται από κινητήρες ή ενεργοποιητές, ελέγχουν την κίνηση της πλάτης με ακρίβεια.

6. Σύστημα 6 βαθμών ελευθερίας με πολλαπλούς ενεργοποιητές: Τέσσερα ζεύγη ενεργοποιητών συντονίζονται για προσαρμογή θέσης εμπρός/πίσω, ύψους, κλίσης καθίσματος και περιστροφής πλάτης.
7. Αρχιτεκτονική ελέγχου με ECU: Μονάδα ελέγχου διαχειρίζεται όλες τις ρυθμίσεις, λαμβάνοντας εντολές από τον χρήστη μέσω κάποιας διεπαφής ελέγχου, καθιστώντας το ουσιαστικά ένα σύστημα καθισμάτων που λειτουργεί με λογισμικό.

8. Σύστημα ανάπτυξης αερόσακων μέσω πλευρικών στηρίξεων: Οι πλευρικές στηρίξεις καθοδηγούν την ενεργοποίηση των αερόσακων κατά προκαθορισμένη τροχιά, βελτιώνοντας την προστασία των επιβατών.
9. Οπές αερισμού στο πίσω μέρος: Το πλαίσιο περιλαμβάνει οπές για παθητική ή ενεργητική ροή αέρα, χωρίς ξεχωριστά συστήματα αερισμού.
10. Ενσωματωμένη θέση για μαλακό υλικό επένδυσης: Το προσκέφαλο και η πλάτη διαθέτουν καλούπι για άμεση τοποθέτηση αφρού ή υφάσματος χωρίς επιπλέον εξαρτήματα, απλοποιώντας τη συναρμολόγηση.
H νέα πατέντα υπογραμμίζει την πρόθεση της Tesla να επεκτείνει τις καινοτομίες της από το αμάξωμα στην καμπίνα, φέρνοντας ένα εντελώς νέο επίπεδο σχεδιασμού και εργονομίας στο πολυαναμενόμενο Roadster.



