Αν είσαι κάτοχος ηλεκτρικού μοντέλου το γνωρίζεις ήδη. Εκεί που στα παραδοσιακά αυτοκίνητα βρίσκεται τοποθετημένος ο κινητήρας, στα ηλεκτρικά βρίσκεται ένας ακόμη αποθηκευτικός χώρος, που λειτουργεί συμπληρωματικά του πορτ μπαγκάζ και συνήθως φιλοξενεί τα καλώδια φόρτισης ή κάποιες χειραποσκευές. Εκτός κι αν μιλάμε για την περίπτωση ενός F-150 Lightning.
Εκεί ο μπροστινός χώρος αποσκευών, γνωστός ως frunk, είναι μεγαλύτερος ακόμη κι από το πορτ μπαγκάζ αρκετών συμβατικών μοντέλων. Τι μπορείς να κάνεις όταν έχεις τόσο χώρο στη διάθεσή σου; Η Ford έχει να προτείνει κάποιες ενδιαφέρουσες ιδέες για τη χρήση του συγκεκριμένου χώρου στα μελλοντικά ηλεκτρικά οχήματά της.

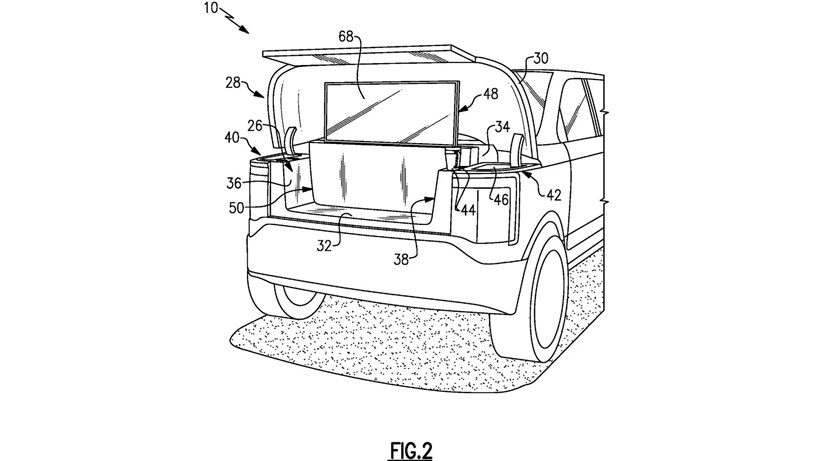
Μία από αυτές, περιλαμβάνει την τοποθέτηση μιας οθόνης στην οποία θα μπορείς να παρακολουθείς τηλεόραση ενώ στέκεσαι μπροστά στο F-150 Lightning σου. Για την ακρίβεια όλες οι προτάσεις της Ford (κάποιες από αυτές μπορείς να δεις στις εικόνες που συνοδεύουν το κείμενο) θα μπορούσαν να χαρακτηριστούν αρκετά δημιουργικές. Μάλιστα η Ford έχει καταθέσει ήδη αίτηση για δίπλωμα ευρεσιτεχνίας.

Όπως για παράδειγμα η δημιουργία μιας επιφάνειας εργασίας, όπου ο χώρος χρησιμοποιείται σαν τραπέζι γραφείου, ή ως εργαλειοθήκη σε μια άλλη εκδοχή. Σε κάθε περίπτωση, η πιο ιδιαίτερη εκδοχή, είναι η αναδιπλούμενη οθόνη που με την προσάρτηση ενός προβολέα, θα μπορεί να προβάλλει τις αγαπημένες σου εκπομπές όπου κι αν βρίσκεσαι.

Ας είμαστε ειλικρινείς, τα συγκεκριμένα πορτμπαγκάζ είναι συχνά κάπως περιττά. Υπό αυτό το πρίσμα, η προσπάθεια της Ford να δώσει μια άλλη διάσταση στην εκμετάλλευσή τους, είναι καλοδεχούμενη.



