Νέα
Δοκιμές
Electric
Videos
Motorsport
More
Άποψη
Retro
Moto
Gaming
Συνεντεύξεις
Search
λογισμικό αυτοκινήτων
Τετ, 13 Νοε 2024
Επίσημο: H VW έκανε το μεγάλο βήμα και συνεργάζεται με Rivian για ηλεκτρικά αυτοκίνητα
Πεμ, 24 Οκτ 2024
Η εντυπωσιακή ιδέα της Rivian για το Halloween με Ιππότη της Ασφάλτου (video)
Σαβ, 28 Σεπ 2024
Η Mercedes έκανε ακόμα καλύτερη την αυτόνομη οδήγηση επιπέδου 3
Παρ, 27 Σεπ 2024
Hyundai και Kia συνεργάζονται με τεχνολογικό κολοσσό για την επόμενη μέρα των SDV αυτοκινήτων
Δευ, 16 Σεπ 2024
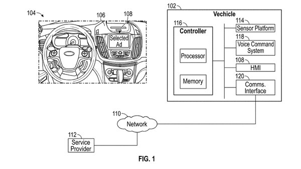
Η Ford δείχνει το μέλλον των διαφημίσεων μέσα στο αυτοκίνητο
Παρ, 13 Σεπ 2024
Γιατί το Autopilot της Tesla θα κάνει και παραβάσεις
Δευ, 09 Σεπ 2024
Ποια φίρμα αλλάζει λογισμικό σε 2,5 εκατομμύρια αυτοκίνητα
Τετ, 14 Αυγ 2024
Για ποιον λόγο το ηλεκτρικό VW Golf έρχεται νωρίτερα απο το αναμενόμενο
Πεμ, 08 Αυγ 2024
Η Honda προσπαθεί να εξαγοράσει Nissan και Mitsubishi, σύμφωνα με πρώην CEO
Τετ, 07 Αυγ 2024
Γιατί αυξάνονται οι ανακλήσεις για ελαττώματα στις κάμερες οπισθοπορείας
Τρι, 06 Αυγ 2024
Η εφαρμογή smartphone που κάνει το Toyota GR Yaris ακόμα πιο γρήγορο
Περισσότερα