Ο κόσμος των διπλωμάτων ευρεσιτεχνίας είναι παράξενος. Ορισμένα από αυτά προστατεύουν ιδέες που πρόκειται να μπουν στην παραγωγή, ενώ άλλα απλώς εμποδίζουν άλλους ανθρώπους να εφαρμόσουν την ίδια ιδέα.
Δεν είμαστε σίγουροι για το ποια από τις δύο εξυπηρετεί η συγκεκριμένη προσπάθεια, αλλά ας ελπίσουμε πως είναι η πρώτη, καθώς υποδηλώνει ότι οι μηχανικοί της Ford εργάζονται πάνω σε ένα χειροκίνητο επιλογέα ταχυτήτων για ηλεκτρικά αυτοκίνητα.

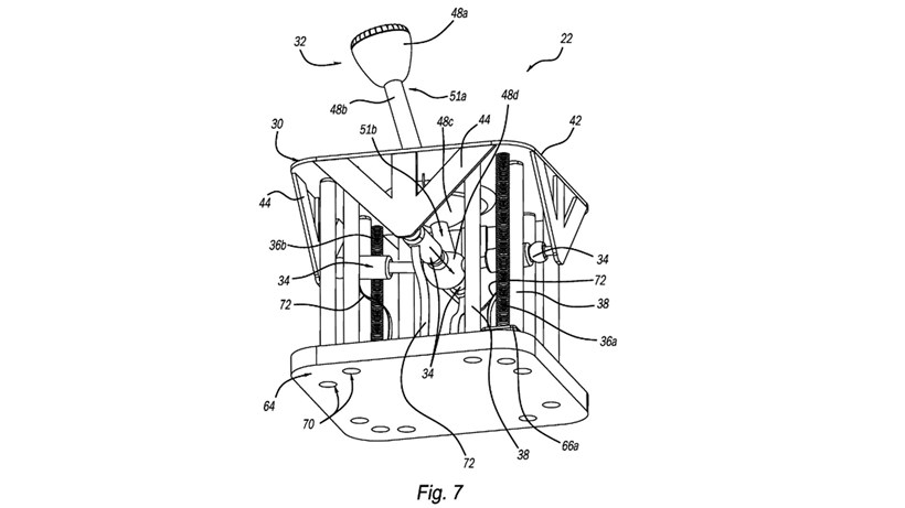
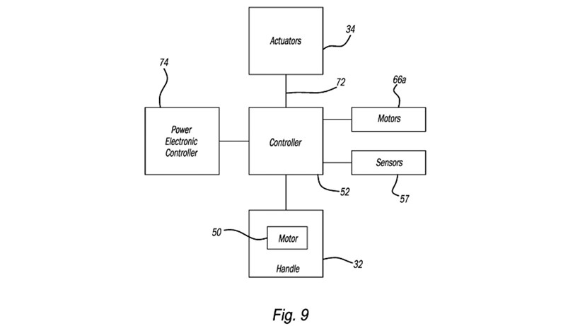
Η περίληψη του διπλώματος ευρεσιτεχνίας αναφέρει ότι "το συγκρότημα του επιλογέα περιλαμβάνει μια βάση, έναν μοχλό ταχυτήτων και ένα πλήθος ενεργοποιητών". Δεν αναφέρει πόσοι ακριβώς, αλλά συνεχίζει λέγοντας ότι ο μοχλός κινείται πάνω στη βάση "σε μια προκαθορισμένη εικονική διαδρομή".
Ο σχεδιασμός χρησιμοποιεί ένα σωρό ηλεκτρονικά, συμπεριλαμβανομένων απτικών κινητήρων, για να συνθέσει την αίσθηση και την κίνηση της χειροκίνητης αλλαγής ταχυτήτων. Ωστόσο, δεν είναι η πρώτη φορά που διερευνάται ένα τέτοιο χαρακτηριστικό.

Πίσω στο 2022, η Toyota κατέθεσε δίπλωμα ευρεσιτεχνίας για ένα εικονικό κιβώτιο ταχυτήτων και δοκίμασε το "Manual BEV concept" σε ένα Lexus UX300e EV. Αυτό συνδύαζε ένα joystick, έναν ψεύτικο συμπλέκτη και κάποια κωδικοποίηση για να προσομοιώσει την πραγματική αίσθηση οδήγησης.
Α, και μπορεί τελικά να το δούμε στην παραγωγή στον διάδοχο του Lexus LFA. Και ας μην ξεχνάμε το Hyundai Ioniq 5 και το N e-Shift, το οποίο κάνει αρκετά πειστική δουλειά προσποιούμενο ότι διαθέτει κιβώτιο διπλού συμπλέκτη οκτώ σχέσεων.

Οι εικονικές αλλαγές ταχυτήτων έχουν πλεονεκτήματα και μειονεκτήματα. Στα θετικά, όπως λέει ο επικεφαλής της Lexus, Koji Sato, είναι ότι υπάρχουν περισσότερες δυνατότητες για μεγαλύτερη εμπλοκή μεταξύ αυτοκινήτου και οδηγού, γεγονός που θα μπορούσε να κάνει τα ηλεκτρικά αυτοκίνητα πιο διασκεδαστικά στην οδήγηση.
Το μειονέκτημα είναι τα περισσότερα εξαρτήματα, που σημαίνει πιο πολλές πιθανότητες να χαλάσει κάτι, και επί του παρόντος τα ηλεκτρικά αυτοκίνητα πωλούνται με βάση την απλοϊκή, λιγότερο ευπαθή αρχιτεκτονική κατασκευής τους.



